3D打印可以實現更復雜更集成的設計,這使得葉片的冷卻通道設計可以以功能實現為主。

更隨形,更復雜
燃氣渦輪發動機包括壓縮機、燃燒器和渦輪機,在壓縮機中壓縮的空氣與燃料混合并在燃燒器中點燃,然后通過渦輪機膨脹以產生動力。渦輪機內的部件,特別是周向排列的轉子和定子葉片,為了承受重復的熱循環以及該環境的極端溫度和機械應力,翼型必須具有堅固的結構并且被主動冷卻。
渦輪轉子和定子葉片通常包含形成冷卻系統的內部通道或回路,冷卻劑(通常是從壓縮機排出的空氣)通過該冷卻系統循環。這種冷卻回路通常由內部肋形成,所述內部肋為翼型提供所需的結構支撐,并且包括多個流動路徑以將翼型保持在可接受的溫度范圍內。通過這些冷卻回路的空氣通常通過翼型的前緣、后緣、吸力側和壓力側上的薄膜冷卻孔排出。
燃氣輪機的效率隨著點火溫度的升高而增加,因此,對技術進步的需求不斷增長,為了使渦輪葉片能夠承受更高的溫度。這些技術進步有時包括使用能夠承受更高溫度的新材料,也經常涉及改善翼型的內部構造以增強葉片結構和冷卻能力。
眾所周知,通過在四壁布置中形成的近壁流動通道可以實現高冷卻效率。然而,近壁流動通道的挑戰在于外壁經歷比內壁顯著更大的熱膨脹水平。這種不平衡的增長導致在內肋連接的點處產生應力,這可能導致低的循環疲勞,這可能縮短葉片的壽命。
GE公司通過3D打印技術正在開發一種渦輪轉子葉片,葉片的特殊設計包括由凹壓側外壁和凸吸入側外壁限定的翼型,翼型沿前緣和后緣連接,并且在它們之間形成徑向延伸的腔室,用于接收冷卻劑的流動。

小突起,大作用
這種新型渦輪轉子葉片的設計目的是提供有效的近壁冷卻,應當理解,近壁冷卻是有利的,因為冷卻空氣緊鄰翼型的熱外表面,并且由于通過限制通過窄通道的流動而實現的高流速,所產生的傳熱系數很高。 然而,由于翼型內經歷的不同水平的熱膨脹,這最終可能縮短轉子葉片的壽命。為了避免差熱膨脹導致低周疲勞問題縮短了部件壽命。

GE公司過去已經評估了許多不同的內部翼型件冷卻系統和肋結構,并且已經嘗試糾正該問題。一種方法提出過冷外壁26,27(如圖),以便減小溫差,從而減小熱生長差。然而,應該理解的是,通常實現這種方式的方法是增加通過翼型件循環的冷卻劑的量。因為冷卻劑通常從壓縮機排出空氣,所以其增加的使用對發動機的效率具有負面影響,因此是優選避免的解決方案。其他解決方案還包括使用改進的制造方法/或使用相同量的冷卻劑的更復雜的內部冷卻配置,雖然這些解決方案已經證明有些有效,但每個解決方案都會給發動機的運行或零件的制造帶來額外的成本,并且無法直接解決根本問題。

另一種方法采用某些彎曲或起泡或正弦或波浪形的內部肋(“波狀肋”),這減輕了經常在渦輪葉片的翼型中發生的不平衡的熱應力。這些結構降低了翼型25的內部結構的剛度,從而提供了目標柔性,通過該柔性,應力集中被分散并且應變卸載到能夠更好地承受它的其他結構區域。以這種方式,可以避免壽命縮短的應力集中和應變。然而,在某些通道40之間仍然會產生高應力區域。葉片內部通道40的其余部分通常是低冷卻效率區域。這些低冷卻效率區域通過“近壁冷卻”通道與高熱負荷區域隔離,或者面向葉片上的非常低的熱負荷面。

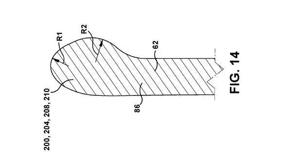
通過設計的球狀突起,可以具有由多于一個曲率半徑R1,R2限定的橫截面,球形突起可以保護外部至內部和內部至外部轉向開口,從而降低轉彎附近的應力集中的沖擊,這允許更復雜的多壁肋構造。球狀突起通過對轉彎開口進行輪廓加工來保護轉彎免受這些高應力的影響,從而解決沿內通道面存在的高彎度線肋應力。
Review
3D打印技術可以說開辟了渦輪發動機制造商提升葉片冷卻效果的一條新的賽道。更重要的是3D打印技術使得改良過內部冷卻結構的葉片能夠以傳統加工方式難以實現的工藝制造出來。
此前,西門子通過3D打印不僅僅簡化了葉片的生產方式,還提升了葉片的性能。
而不僅僅是葉片的冷卻,UTC聯合技術將3D打印技術應用于燃氣渦輪發動機部件的冷卻方案,包括在燃氣渦輪發動機部件的壁內部的點陣結構。通過點陣結構為燃氣渦輪發動機部件提供有效的局部對流冷卻,使得部件可以經受通過核心流動路徑的熱燃燒氣體的高溫。
選區激光熔融增材制造工藝允許實現更復雜冷卻通道模式,這樣的通道幾乎無法通過傳統的制造方法制造。根據GE的一項專利US009551490,其開發的噴油器主體采用直接激光融化(DMLS)或電子束熔化EBM技術制造。更加集成的設計減少了潛在的泄漏和其他潛在的不良影響,例如通過傳統方法需要有多個組件釬焊或結合在一起以形成冷卻通道,這不僅僅增加了工藝的復雜性和程序,還帶來了潛在的質量隱患。
成員列表
登錄成功
祝您使用愉快!
倒計時 5 秒,自動關閉